1. Klicken Sie auf die Schaltfläche und SENDEN SIE EINE ANFRAGE
Klicken Sie auf die Schaltfläche und SENDEN SIE EINE ANFRAGE

Gebrauchsmuster – betrifft die Form, Struktur oder Kombination eines Gegenstandes mit dem sogenannten eine dauerhafte Form (siehe Punkt 2), deren wesentliche Merkmale nicht nur mit bloßem Auge sichtbar sind (sie erfordern die Darstellung ihrer inneren Struktur), und sie muss die folgenden Bedingungen erfüllen:
Weltneuheit – die Lösung ist erst zum Zeitpunkt ihrer Meldung an das Amt bekannt – sie darf nicht öffentlich gemacht werden, d Neuheit!)
Lösung technischer Art – sie muss sich auf die Form, Struktur oder den Zusammenbau eines dauerhaften Gegenstands beziehen, was bedeutet, dass nur das fertige Produkt geschützt ist und nicht: die Methode, Technologie, Algorithmen, Zusammensetzung (Rezeptur) oder Methode zur Herstellung von z. B. Salben , Lösungen usw. (siehe, was ein Patent ist)
Gebrauchsmuster können beispielsweise sein: verschiedene Arten von Geräten, Maschinen und Mechanismen (z. B. Getriebe), Monitore, Photovoltaikmodule und andere
Aufmerksamkeit! Nicht alle Länder gewähren Schutz für Gebrauchsmuster (das liegt an ihren gesetzlichen Regelungen – nicht überall gibt es eine „Kategorie“ eines Gebrauchsmusters).
Bei der Patentdokumentation für Gebrauchsmuster ist neben der verfahrensgemäß erstellten Fachbeschreibung durch einen Patentanwalt das zentrale Element die visuelle Darstellung Ihrer Lösung. Damit Ihr Anwalt eine Beschreibung erstellen und ein Gebrauchsmuster zum Schutz einreichen kann, sollten Sie ihm entsprechendes Material in Form von technische Zeichnungen* – selbstverständlich nach vorheriger Rücksprache mit dem Sprecher (er berät Sie, auf welche Elemente Sie sich konzentrieren sollten)
Das Produkt wird komplett abgebildet

Technische Querschnitte

Technische Details

Darüber hinaus sollten Sie dem Patentanwalt mitteilen, welche Vorteile Ihre Lösung hat, wie sie sich von den auf dem Markt erhältlichen unterscheidet und eine vollständige technische Nomenklatur (umgangssprachlich) bereitstellen. aller Bestandteile der Lösung (Nummerierung unter). Technische Montagezeichnungmit Beschreibung*)
*Sie wissen nicht, wie man technische Zeichnungen anfertigt / Ihnen fehlt das nötige Werkzeug / Sie möchten Zeit sparen, indem Sie zusätzliche Aufnahmen erstellen und Korrekturen durch einen Patentanwalt vornehmen lassen? Gemeinsam mit CSTNG bereiten wir für Sie das optimale Anschauungsmaterial vor <
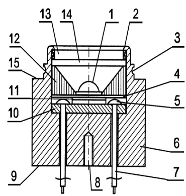
Beleuchtungsmodul

Musternummer: 118101
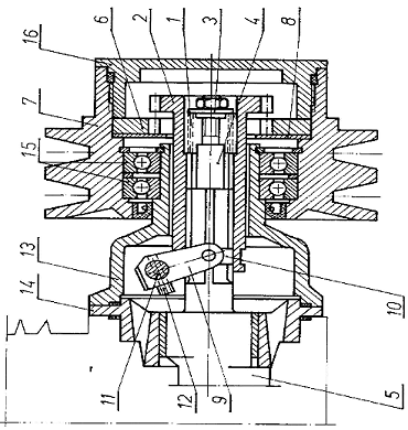
Kompressormechanismus

Musternummer: 101175
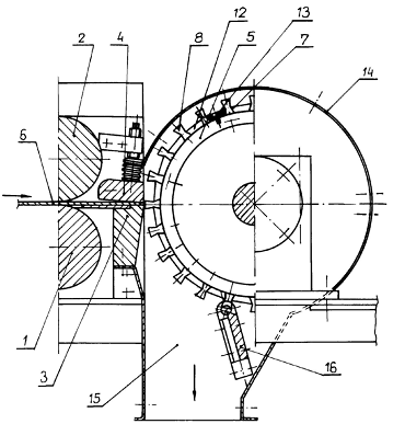
Zerkleinerungsgerät

Musternummer: 106974

im Polnischen Patentamt der Republik Polen (UPRP)
Sicherheit NUR in POLEN

durch einen Vertreter aus einem bestimmten Land
Schutz NUR in ausgewählten Ländern (wo es eine Gebrauchsmuster-’Kategorie’ gibt)
Das heißt, wie Sie dank unserer Patentanwälte schnell und einfach ein Gebrauchsmuster zum Schutz anmelden können
Klicken Sie auf die Schaltfläche und SENDEN SIE EINE ANFRAGE
Wir bewerten den Service und beraten Sie zum weiteren Vorgehen
Wir erstellen professionelle Unterlagen und reichen den Antrag ein
Sie erhalten Ihr ZERTIFIKAT